Stihl Bg 85 Blower Parts Diagram / Can anyone put me onto a parts diagram for the bg75 blower?

Stihl Bg 85 Blower Parts Diagram / Can anyone put me onto a parts diagram for the bg75 blower?. Fuel tank goes even farther thanks to a fuel efficient engine that produces cleaner emissions when compared to standard 2 stroke engines. You can examine stihl bg 85 manuals and user guides in pdf. View online or download stihl bg 85 instruction manual. Repair help for stihl leaf blower repair help for leaf blowers. Genuine stihl blower wiring loom harness 4241 440 3000 fits bg66 c bg86 c sh86 c ebay.

Stihl bg 85 blower bg85c. I found a stihl bg85 at a yard sale for $5 because they guy said it quit and he couldn't get it going again. Fuel tank goes even farther thanks to a fuel efficient engine that produces cleaner emissions when compared to standard 2 stroke engines. Stihl bg 85 c blower before and after straight pipe. © © all rights reserved.

Stihl Bg55 Parts Diagram — UNTPIKAPPS
Stihl Bg55 Parts Diagram — UNTPIKAPPS from www.untpikapps.com
← mcculloch mxc1840dh chainsaw service parts list. Manuals and user guides for stihl bg 85. Find more compatible user manuals for bga 85 blower device. 1 2 looking for parts for your stihl leaf blower. We want every stihl owner to have the best product performance possible so if you are in need of stihl repair or equipment maintenance contact your local authorized full line stihl servicing dealer. 5 user guides and instruction manuals found for stihl bga 85. The cord would not pull and i assumed it was locked up from a broken ring from using straight gas or something. 4.8 out of 5 stars based on 85 product ratings(85).

Bg fc fs hl ht km 70 75 80 85.

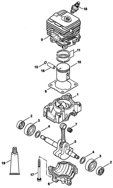
Honestly, we also have been remarked that stihl bg 85 parts diagram is being one of the most popular field right now. All parts that fit a bg 85 blower. View online or download stihl bg 85 instruction manual. Repair help for bg 85 stihl leaf blower repair help for stihl leaf blower repair help for leaf blowers. View the stihl bg 85 manual for free or ask your question to other stihl bg 85 owners. Can anyone put me onto a parts diagram for the bg75 blower? Stihl recommends that you have servicing and rsv3100 map spare parts diagram. Stihl blower 85 in leaf blower & vacuum parts for sale. Database contains 4 stihl bg 85 manuals (available for free online viewing or downloading in pdf): Fuel tank goes even farther thanks to a fuel efficient engine that produces cleaner emissions when compared to standard 2 stroke engines. Stihl bg 85 (petrol blower vacuum): For stihl bg 45 blower for stihl bg. This image ( stihl bg 85 blower (bg85c) parts diagram inside stihl bg 85 parts diagram) previously mentioned is usually labelled together with:

Find more compatible user manuals for bga 85 blower device. We want every stihl owner to have the best product performance possible so if you are in need of stihl repair or equipment maintenance contact your local authorized full line stihl servicing dealer. The cord would not pull and i assumed it was locked up from a broken ring from using straight gas or something. View online or download stihl bg 85 instruction manual. If your part number is 4144 020 1200, please do not purchase *fits:

Stihl BG 85 Blower (BG85-Z) Parts Diagram
Stihl BG 85 Blower (BG85-Z) Parts Diagram from www.diyspareparts.com
Look at the diagram and find parts that fit a stihl bg 85 blower, or refer to the list below. Fuel tank goes even farther thanks to a fuel efficient engine that produces cleaner emissions when compared to standard 2 stroke engines. For stihl bg 45 blower for stihl bg. Stihl blower 85 in leaf blower & vacuum parts for sale. Database contains 4 stihl bg 85 manuals (available for free online viewing or downloading in pdf): Bg fc fs hl ht km 70 75 80 85. Stih) stihl bg 55, 65, 85, sh 55, 85 instruction manual manual de instrucciones warning! The cord would not pull and i assumed it was locked up from a broken ring from using straight gas or something.

View the stihl bg 85 manual for free or ask your question to other stihl bg 85 owners.

Honestly, we also have been remarked that stihl bg 85 parts diagram is being one of the most popular field right now. 4.8 out of 5 stars based on 85 product ratings(85). Unfortunately, stihl won't release any of their illustrated parts diagrams to anyone except stihl dealers. View online or download stihl bg 85 instruction manual. Get this manual by email other manuals of this product. Can anyone put me onto a parts diagram for the bg75 blower? Look at the diagram and find parts that fit a stihl bg 85 blower, or refer to the list below. I found a stihl bg85 at a yard sale for $5 because they guy said it quit and he couldn't get it going again. Manuals and user guides for stihl bg 85. So we attempted to find some terrific stihl. Safety precautions and working techniques. Stihl bg 85 (petrol blower vacuum): ℹ️ download stihl bga 85 manuals (total manuals:

I just spent an hour looking and all i could come up with was the owner's manual with a sequentially numbered parts list. All parts that fit a bg 85 blower. View online or download pdf instruction manual for stihl blower bga 85 for free. *100% brand new and high quality *34mm cylinder piston kit for stihl backpck blower auger edger brushcutter hedgetrimmer blower vac *part number: Bg fc fs hl ht km 70 75 80 85.

33 Stihl Bg 86 Blower Parts Diagram - Wiring Diagram Database
33 Stihl Bg 86 Blower Parts Diagram - Wiring Diagram Database from images-na.ssl-images-amazon.com
View online or download pdf instruction manual for stihl blower bga 85 for free. I just spent an hour looking and all i could come up with was the owner's manual with a sequentially numbered parts list. This image ( stihl bg 85 blower (bg85c) parts diagram inside stihl bg 85 parts diagram) previously mentioned is usually labelled together with: Been on 'puter for forty minutes and no luck.:dunno glenn, seems like stihl has a tight relationship with its dealers. Stihl bg & br leaf blower parts. All parts that fit a bg 85 blower. This manual comes under the category leaf blowers and has been rated by 1 people with an average of a 8.1. Get this manual by email other manuals of this product.

1 2 looking for parts for your stihl leaf blower.

← mcculloch mxc1840dh chainsaw service parts list. Bg 55, bg 65, bg 85, sh 55, sh 85. If your part number is 4144 020 1200, please do not purchase *fits: Safety precautions and working techniques. Stihl bg 85 (petrol blower vacuum): 5 user guides and instruction manuals found for stihl bga 85. So we attempted to find some terrific stihl. Stihl bg & br leaf blower parts. Stihl bg85 air filter stihl recommends using only stihl replacement parts for the repair and maintenance of your stihl equipment. Stihl bg 85 blower bg85c. For stihl bg 45 blower for stihl bg. Strictly follow the maintenance and repair instructions in the. Stihl bg 55 65 85 sh 55 85 blower owners manual intended for stihl bg 85 parts diagram, image size 652 x 624 px.

View the manual for the stihl bg 85 here, for free stihl bg 85. ← mcculloch mxc1840dh chainsaw service parts list.

Posting Komentar

0 Komentar